單鬥提升機
應用行業:用於食品工業、化工行業、醫藥行業、磨料陶瓷、冶金工業
适用物料:泥漿、塗料、煤泥
價格區間:5000-50000元/台 處理能力:80m³-240m³
适用物料:泥漿、塗料、煤泥
價格區間:5000-50000元/台 處理能力:80m³-240m³
全國銷售熱線:
13460427940
單鬥提升機介紹
單鬥提升機有手動與自動兩種控制方式,手動上料式可控制料鬥的停放位置與倒料的時間。自動控制由螺旋喂料機上面的料位光電控制,自動加料,料倉無料時會自動報警提示加料。單鬥提升機有單獨控制電器箱,採用變頻電機,物料提升速度可通過變頻器調節快慢,單鬥提升機整機包括傳送鏈條都採用304材質,都符合食品衛生安全要求。
圖片大全

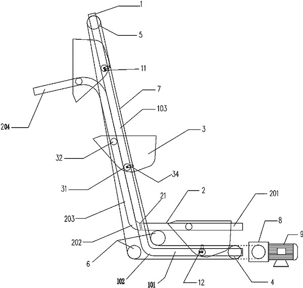
外形結構圖
單鬥提升機包括機架、料鬥、上軌道、下軌道和鏈條,上軌道與下軌道固定在機架上,鏈條安裝在機架上,料鬥上設置有上行走輪與下行走輪,上行走輪置於(yú)上軌道内,下行走輪置於(yú)下軌道内,上行走輪與鏈條連接,其特征在於(yú),在上軌道上靠近地面的一端設置有橫向移動軌道。新型單鬥提升機,動作簡單,運行穩定性高,生産(chǎn)成本和運行成本低。
使用原理
當料車在底部原始位置時,由人工或其他方式給料車加滿物料,料車充滿後,按動啓動按鈕,傳動裝置的鋼絲繩牽引料車緩緩上升,料車沿著(zhe)導軌上升到指定高度的運料層後,前一對車輪沿下軌水平段、後一對車輪沿上軌傾斜段繼續上升並(bìng)慢慢翹起、使料車鬥體傾翻而卸出物料。在此同時,料車碰觸到限位開關,傳動裝置随即停止工作。確保物料卸清後,按下降按鈕,料車即自動返回。當料車自上而下返回到進料處時,碰到底部限位開關,傳動裝置停止工作。
使用說明書
單鬥提升機的安全操作規程,在其操作方面是重要的知識點,所以希望大家能夠認真閱讀下面的内容,以便及時掌握,其主要内容有:(1)單鬥提升機開車時應是空負荷的,在停車時,要排盡機器内的所有物料後才能夠停車。
(2)單鬥提升機不能出現倒轉現象,因爲這樣會使鏈條出現脫軌現象,從而引起一些不必要的麻煩。
(3)在喂料過程中,應均勻喂料,不能突然增大,更不能超過提升機的輸送能力,否則會使提升機的底部出現嚴重堆料現象。
(4)單鬥提升機應按照規定要求進行潤滑工作,以便有良好的工作狀态。
(5)要經常檢查鏈條、料鬥的磨損情況如何,如果磨損嚴重的話那麽應及時更換。
(6)提升機的維護、管理,應由專人負責,以便能夠落實到人。
(7)在單鬥提升機中,必須要有卷揚限制器和行程限制器,以便能夠起到應有的防護作用。
(8)提升機上應有最大負荷标志,在送電後,應對安全裝置進行相應的檢查,是否有問題等。
你也許還需要這些設備!
篩分篩選機械
- 石墨粉振動篩
- 灰乳轉篩
- 振網篩
- 水力篩
- 泥石分離機
- 平面往複篩
- 活性炭振動篩
- 砂石篩
- 盤選篩
- 除土篩
- 制砂滾動篩
- 金剛砂振動篩
- 鑄造篩砂機
- 陶粒砂成品篩
- 泥漿分砂機
- 分砂機
- 圓型振動篩
- 分級振動篩
- 醫藥振動篩
- 粉體篩分選篩
- 雙質體高頻微粉振動篩
- 顆粒分離振動篩
- 自動清理振動篩
- 磁懸浮振動篩
- 篩砂機
- 篩草機
- 篩料機
- 激振器式脫水篩
- 大型滾筒篩
- 糖,鹽業專用搖擺篩
- 圓盤搖擺篩
- 搖擺振動篩
- 超聲波直線篩
- 超聲波搖擺篩
- 垃圾滾筒篩
- 電動振篩機
- 方形振動篩
- 篩土機
- 圓形振動篩
- 重型振動篩
- 細粉篩
- 微粉篩
- 複振篩
- 選礦機
- 滾動篩
- 澱粉振動篩
- 顆粒振動篩
- 紅棗分級機
- 電動驗粉篩
- 食品用振動篩
- 石英砂振動篩
- 輥篩
- 砂石骨料振動篩
- 粉末振動篩
- 分級篩
- 洗煤振動篩
- 液體振動篩
- 振蕩篩
- 石子振動篩
- 塗料振動篩
- 釉料過濾篩
- 尿素分級篩
- 珍珠岩專用篩
- 碳素專用篩
- 振動砂石分離機
輸送機械
- 管式螺旋輸送機
- 移動式螺旋輸送機
- 垂直螺旋輸送機
- 蛟龍輸送機
- 粉煤灰輸送機
- 冷卻輸送機
- 闆式鏈條輸送機
- 耐高溫輸送機
- 食品級輸送機
- 折疊皮帶機
- 水冷螺旋輸送機
- 闆式輸送機
- 拉鏈機
- 振動整列輸送機
- 礦用輸送機
- 波紋擋邊輸送機
- 瀝水鏈闆機
- 電機振動水平輸送機
- 鍋爐刮闆除渣機
- 無軸螺旋輸送機
- 污泥輸送機
- 刮闆機(刮闆輸送機)
- 鏈鬥輸送機
- 伸縮式皮帶輸送機
- 真空上料機
- 帶式輸送機
- 鱗闆機
- 移動式皮帶輸送機
- 大傾角輸送機
- 皮帶輸送機
- 螺旋輸送機
- 振動輸送機
- 鏈闆輸送機
- 滾筒輸送機
- 網帶輸送機
- 埋刮闆輸送機
給料機械
- 無塵投料站
- 鏈條式提升機
- 喂料機
- 自動給料機
- 螺旋給料機
- 給礦機
- 雙螺旋給料機
- 圓盤式給料機
- 棒條振動給料機
- 槽式給料機
- 擺式給料機
- 活化振動給煤機
- 振動放礦機
- 闆式喂料機
- 甲帶給料機
- 電磁振動給料機
- 電機振動給料機
- 往複式給料機
- 圓盤給料機
- 螺旋給料機
- 闆式給料機
- 振動給料鬥
- 葉輪給料機
糧食機械
配件及其他
相關文章:
專家咨詢 全有機械爲您解答有關單(dān)鬥(dòu)提升機各種疑惑
我們有著(zhe)專業的技術團隊,爲您提供求購、使用、維護、參(cān)數等方面的疑問解答,可在線聯系或者電話聯系!

如果您想求購單鬥提升機産品,可撥(bō)打電話咨詢價格及相應技術參(cān)數!






