垃圾滾筒篩
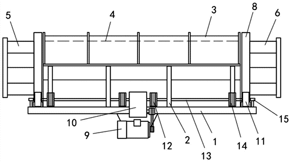
垃圾滾筒篩以一定角度傾斜放置在支架上,支架水平固定在地面上,滾筒篩的驅動裝置的轉軸連接篩筒側(cè)面的托輥軸上,托輥在電機的轉動下通過摩擦力帶(dài)動篩筒做圓周運動,利用離心力篩分物料。合格的垃圾在滾筒篩筒體的下方出料口排出,不合格的垃圾和大顆粒物在滾筒篩尾端出料口排出。
廠家真機
工作原理結構圖
當物料進入滾筒裝置後,由於(yú)滾筒裝置的傾斜與轉動,使篩面上的物料翻轉與滾動,使合格物料(篩下産(chǎn)品)經滾筒後端底部的出料口排出,不合格的物料(篩上産(chǎn)品)經滾筒尾部的排料口排出。由於(yú)物料在滾筒内的翻轉、滾動,使卡在篩孔中的物料可被彈出,防止篩孔堵塞。滾筒篩砂機、滾筒篩分機與滾筒篩的原理構造幾乎相同,是人們對它的認識和叫法上存在差異。
型号參數表
使用優勢
(一)篩分效率高 因設備設有闆式清篩機構,在篩分過程中,不管進入分離篩的物料多粘、多濕、多雜,通過清篩機與篩體的相對運動,永遠堵塞不瞭篩網,從而提高瞭設備的篩分效率。(二)工作環境好 整個篩分機構均設計在密封防塵罩内,徹底消除瞭篩分過程中的粉塵飛揚現象,從而改善瞭工作環境。
(三)設備噪音低 設備在運行中,物料與旋轉篩網所産生的噪音完全由密封防塵罩隔離,使噪音無法傳遞到設備外部,從而降低瞭設備噪音。
(四)使用壽命長 設備篩網是由若幹個圓環狀扁鋼組成,規格爲16mm×12mm,其截面積遠遠大於其它分離設備篩網的篩條截面積故而使用壽命得到提高。
(五)檢修方便 設備密封防塵罩兩側設備觀察窗口,工作時工作人員可随時觀察設備運行情況,在密封罩端部和清篩機機構側面設有檢修快開門口,在設備定期檢修時十分便利,不影響設備的正常運行。
你也許還需要這些設備!
輸送機械
- 管式螺旋輸送機
- 移動式螺旋輸送機
- 垂直螺旋輸送機
- 蛟龍輸送機
- 粉煤灰輸送機
- 冷卻輸送機
- 闆式鏈條輸送機
- 耐高溫輸送機
- 食品級輸送機
- 折疊皮帶機
- 水冷螺旋輸送機
- 闆式輸送機
- 拉鏈機
- 振動整列輸送機
- 礦用輸送機
- 波紋擋邊輸送機
- 瀝水鏈闆機
- 電機振動水平輸送機
- 鍋爐刮闆除渣機
- 無軸螺旋輸送機
- 污泥輸送機
- 刮闆機(刮闆輸送機)
- 鏈鬥輸送機
- 伸縮式皮帶輸送機
- 真空上料機
- 帶式輸送機
- 鱗闆機
- 移動式皮帶輸送機
- 大傾角輸送機
- 皮帶輸送機
- 螺旋輸送機
- 振動輸送機
- 鏈闆輸送機
- 滾筒輸送機
- 網帶輸送機
- 埋刮闆輸送機
提升機械
- 雙鬥提升機
- 翻鬥提升機
- TD鬥式提升機
- TH提升機
- NE型提升機
- TB垂直鬥式提升機
- td160鬥式提升機
- 垂直上料機
- 水泥提升機
- 螺旋垂直提升機
- 單鬥提升機
- 畚鬥提升機
- 撈坑脫水鬥式提升機
- 挖鬥提升機
- 鬥式提升機(鬥提機)
- 闆鏈鬥式提升機
- 環鏈鬥式提升機
- 皮帶鬥式提升機
- 垂直提升機
- Z型提升機
- 垂直振動提升機
- 物料提升機
給料機械
- 無塵投料站
- 鏈條式提升機
- 喂料機
- 自動給料機
- 螺旋給料機
- 給礦機
- 雙螺旋給料機
- 圓盤式給料機
- 棒條振動給料機
- 槽式給料機
- 擺式給料機
- 活化振動給煤機
- 振動放礦機
- 闆式喂料機
- 甲帶給料機
- 電磁振動給料機
- 電機振動給料機
- 往複式給料機
- 圓盤給料機
- 螺旋給料機
- 闆式給料機
- 振動給料鬥
- 葉輪給料機
糧食機械
配件及其他
相關文章:
專家咨詢 全有機械爲您解答有關(guān)垃圾滾(gǔn)筒篩各種疑惑
我們有著(zhe)專業的技術團隊,爲您提供求購、使用、維護、參(cān)數等方面的疑問解答,可在線聯系或者電話聯系!

如果您想求購垃圾滾筒篩産品,可撥(bō)打電話咨詢價格及相應技術參(cān)數!







